Szuperabrazív, kúpos fazékkorongjaink geometriájának köszönhetően alkalmasak a munkadarabok nehezen hozzáférhető helyein történő nagyoló és simító köszörülésére. Jellemzően szerszámok, fúrók köszörülésére és élezésére használjuk, de alkalmazzuk még minden olyan körülmény esetén is, ahol a szerszám palást és homlokfelületének egyidejű munkájára van szükség. A széles szemcse és kötőanyag választékunknak köszönhetően szerszámainkat egy-egy pontosan meghatározott feladatra optimalizáltan készítjük.
Elérhető alaptestek: kerámia, alumínium, acél
Elérhető geometriák: 11A2, 11V9, 12A2/1, 12A2/20°, 12A2/45°, 12A9, 12C9/20°, 12C9/45°, 12V2, 12V5/V°, 12V9, 12V9/25°, 15V9/Vz°
11A2 alak-
Kúpos fazék alakú szuperabrazív korong
DxWxXxH

| Méretek | Kötés típusa | |||||||||
| D | W | X | H | T1 | E | Bakelit | Kerámia | Fém | Hibrid | Galván |
| 50 | 3/4/5 | 2/3/4 | * | 13 | 8 | • | ||||
| 55 | 10 | 2/3/4 | * | 15 | 10 | • | ||||
| 63 | 3/5/10 | 2/3/4 | * | 15 | 10 | • | ||||
| 75 | 3/4/5/6/8/10/15 | 2/3/4/5 | * | 18 | 10 | • | ||||
| 100 | 3/4/5/6/8/10/12,5/15/20 | 2/3/4/5 | * | 22 | 10 | • | ||||
| 100 | 6/8/10/12,5/15 | 4-6 | 25 | 22 | 10 | • | ||||
| 100 | 6/8/10/12,5/15/20 | 4-6 | * | 22 | 10 | • | ||||
| 125 | 3/4/5/6/8/10/12,5/15/20 | 2/3/4/5/6 | * | 23 | 10 | • | ||||
| 125 | 6/8/10/12,5/15 | 4-6 | 25 | 22 | 10 | • | ||||
| 125 | 6/8/10/12,5/15/20 | 4-6 | * | 23 | 10 | • | ||||
| 150 | 3/4/5/6/8/10/12,5/15/20/25 | 2/3/4/5/6 | * | 23 | 10 | • | ||||
| 150 | 6/8/10/12,5/15 | 4-6 | 25/40 | 22 | 10 | • | ||||
| 150 | 6/8/10/12,5/15/20/25 | 4-6 | * | 23 | 10 | • | ||||
| 175 | 3/4/5/6/8/10/12,5/15/20/25 | 2/3/4/5/6 | * | 23 | 12 | • | ||||
| 175 | 6/8/10/12,5/15/20/25 | 4-6 | * | 23 | 12 | • | ||||
| 200 | 4/5/6/8/10/12/15/20/25 | 2/3/4/5/6 | * | 23 | 12 | • | ||||
| 200 | 6/8/10/12/15/20/25 | 4-6 | * | 23 | 12 | • | ||||
| 220 | 4/10/15/20 | 2/3/4/5/6 | * | 25 | 12 | • | ||||
| 220 | 10/15/20 | 4-6 | * | 25 | 12 | • | ||||
| 250 | 5/6/8/10/12/15/25 | 2/3/4/5/6 | * | 25 | 15 | • | ||||
| 250 | 8/10/12/15/25 | 4-6 | * | 25 | 15 | • | ||||
* A "*"-gal jelölt részek egyedi igények alapján, előzetes egyeztetés során kerülnek meghatározásra.
Szabványos rétegvastagságok (X): 2mm / 3mm / 4mm / 5mm / 6mm.
Szabványos furatméretek (H): 25mm / 40mm.
11V9 alak-
Kúpos fazék alakú szuperabrazív korong
DxXxUxH

| Méretek | Kötés típusa | |||||||||
| D | X | U | H | T | E | Bakelit | Kerámia | Fém | Hibrid | Galván |
| 40 | 1,5/2/3 | 6 | * | 18 | 8 | • | • | |||
| 50 | 1,5/2/3 | 6 | * | 20 | 8 | • | • | |||
| 75 | 1,5/2/3 | 6/10 | * | 30 | 10 | • | • | |||
| 75 | 2/3/5 | 6/10 | * | 30 | 12 | • | • | • | ||
| 90 | 1,5/2/3 | 6/10 | * | 35 | 10 | • | • | |||
| 100 | 1,5/2/3 | 6/10 | * | 35 | 10 | • | • | |||
| 100 | 2/3/5 | 6/10 | * | 35 | 12 | • | • | • | ||
| 125 | 1,5/2/3 | 6/10 | * | 40 | 10 | • | • | |||
| 125 | 2/3/5 | 6/10 | * | 35 | 12 | • | • | • | ||
| 150 | 1,5/2/3 | 6/10 | * | 50 | 10 | • | • | |||
* A "*"-gal jelölt részek egyedi igények alapján, előzetes egyeztetés során kerülnek meghatározásra.
Szabványos szélességek (U): 6mm / 10mm.
Szabványos rétegvastagságok (X): 1,5mm / 2mm / 3mm / 5mm.
12A2/1 alak-
Kúpos fazék alakú szuperabrazív korong
DxWxXxH

| Méretek | Kötés típusa | |||||||||
| D | W | X | H | T1 | E | Bakelit | Kerámia | Fém | Hibrid | Galván |
| 75 | 3/4/5 | 2/3 | * | 18 | 8 | • | ||||
| 100 | 3/4/5 | 2/3/4 | * | 18 | 8 | • | ||||
| 125 | 3/4/5 | 2/3/4 | * | 19 | 9 | • | ||||
| 150 | 3/4/5 | 2/3/4 | * | 20 | 10 | • | ||||
| 175 | 4/5/6 | 2/3/4 | * | 20 | 10 | • | ||||
| 200 | 4/5/6 | 2/3/4 | * | 20 | 10 | • | ||||
* A "*"-gal jelölt részek egyedi igények alapján, előzetes egyeztetés során kerülnek meghatározásra.
Szabványos rétegvastagságok (X): 2mm / 3mm / 4mm.
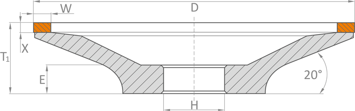
12A2/20° alak-
Kúpos fazék alakú szuperabrazív korong
DxWxXxH

| Méretek | Kötés típusa | |||||||||
| D | W | X | H | T1 | E | Bakelit | Kerámia | Fém | Hibrid | Galván |
| 50 | 3/4/5/10 | 2/3/4 | * | 7 | 5 | • | ||||
| 55 | 10 | 2/3/4 | * | 7 | 5 | • | ||||
| 63 | 3/5/10 | 2/3/4 | * | 9 | 6 | • | ||||
| 75 | 3/4/5/6/8/10/15 | 2/3/4/5 | * | 9 | 6 | • | ||||
| 90 | 3/4/5/6/8/10 | 2/3/4/5 | * | 10 | 6 | • | ||||
| 100 | 3/4/5/6/8/10/12,5/15/20 | 2/3/4/5 | * | 10 | 6 | • | ||||
| 100 | 6/8/10/12,5/15/20 | 4-6 | * | 10 | 8 | • | ||||
| 125 | 3/4/5/6/8/10/12,5/15/20 | 2/3/4/5/6 | * | 14 | 8 | • | ||||
| 125 | 6/8/10/12,5/15/20 | 4-6 | * | 14 | 10 | • | ||||
| 150 | 3/4/5/6/8/10/12,5/15/20/25 | 2/3/4/5/6 | * | 16 | 9 | • | ||||
| 150 | 6/8/10/12,5/15/20/25 | 4-8 | * | 16 | 9 | • | ||||
| 175 | 3/4/5/6/8/10/12,5/15/20/25 | 2/3/4/5/6 | * | 18 | 10 | • | ||||
| 175 | 6/8/10/12,5/15/20/25 | 5-10 | * | 18 | 10 | • | ||||
| 200 | 4/5/6/8/10/12/15/20/25 | 2/3/4/5/6 | * | 20 | 11 | • | ||||
| 200 | 6/8/10/12/15/20/25 | 6-12 | * | 20 | 11 | • | ||||
| 220 | 4/10/15/20 | 2/3/4/5/6 | * | 23 | 13 | • | ||||
| 220 | 10/15/20 | 6-15 | * | 23 | 13 | • | ||||
| 250 | 5/6/8/10/12/15/25 | 2/3/4/5/6 | * | 23 | 13 | • | ||||
| 250 | 8/10/12/15/25 | 5-10 | * | 23 | 13 | • | ||||
* A "*"-gal jelölt részek egyedi igények alapján, előzetes egyeztetés során kerülnek meghatározásra.
Szabványos rétegvastagságok (X): 2mm / 3mm / 4mm / 5mm / 6mm / 8mm / 10mm / 12mm / 15mm.
12A2/45° alak-
Kúpos fazék alakú szuperabrazív korong
DxWxXxH

| Méretek | Kötés típusa | |||||||||
| D | W | X | H | T1 | E | Bakelit | Kerámia | Fém | Hibrid | Galván |
| 50 | 3/4/5/10 | 2/3/4 | * | 20 | 8 | • | ||||
| 55 | 3/4/5/10 | 2/3/4 | * | 20 | 8 | • | ||||
| 63 | 3/5/10 | 2/3/4 | * | 20 | 8 | • | ||||
| 75 | 3/4/5/6/8/10/15 | 2/3/4/5 | * | 20 | 10 | • | ||||
| 90 | 3/4/5/6/8/10 | 2/3/4/5 | * | 22 | 10 | • | ||||
| 100 | 3/4/5/6/8/10/12,5/15/20 | 2/3/4/5 | * | 22 | 10 | • | ||||
| 100 | 6/8/10/12,5/15/20 | 4-6 | * | 22 | 10 | • | ||||
| 100 | 6/8/10/12,5/15/20 | 4-6 | 25 | 22 | 10 | • | ||||
| 125 | 3/4/5/6/8/10/12,5/15/20 | 2/3/4/5/6 | * | 22 | 10 | • | ||||
| 125 | 6/8/10/12,5/15/20 | 4-6 | * | 22 | 10 | • | ||||
| 125 | 6/8/10/12,5/15/20 | 4-6 | 25 | 22 | 10 | • | ||||
| 150 | 3/4/5/6/8/10/12,5/15/20/25 | 2/3/4/5/6 | * | 22 | 10 | • | ||||
| 150 | 6/8/10/12,5/15/20/25 | 4-6 | * | 22 | 10 | • | ||||
| 150 | 6/8/10/12,5/15/20/25 | 4-6 | 25/40 | 22 | 10 | • | ||||
| 175 | 3/4/5/6/8/10/12,5/15/20/25 | 2/3/4/5/6 | * | 25 | 12 | • | ||||
| 175 | 6/8/10/12,5/15/20/25 | 5-10 | * | 25 | 12 | • | ||||
| 200 | 4/5/6/8/10/12/15/20/25 | 2/3/4/5/6 | * | 25 | 12 | • | ||||
| 200 | 6/8/10/12/15/20/25 | 6-12 | * | 25 | 12 | • | ||||
| 220 | 4/10/15/20 | 2/3/4/5/6 | * | 25 | 12 | • | ||||
| 220 | 10/15/20 | 6-15 | * | 25 | 12 | • | ||||
| 250 | 5/6/8/10/12/15/20/25 | 2/3/4/5/6 | * | 25 | 12 | • | ||||
| 250 | 8/10/12/15/20/25 | 6-15 | * | 25 | 12 | • | ||||
* A "*"-gal jelölt részek egyedi igények alapján, előzetes egyeztetés során kerülnek meghatározásra.
Szabványos rétegvastagságok (X): 2mm / 3mm / 4mm / 5mm / 6mm / 10mm / 12mm / 15mm.
Szabványos furatméretek (H): 25mm / 40mm.
12A9 alak-
Kúpos fazék alakú szuperabrazív korong
DxWxXxH

| Méretek | Kötés típusa | |||||||||
| D | W | X | H | T | E | Bakelit | Kerámia | Fém | Hibrid | Galván |
| 50 | 3/5 | 2/3 | * | 10 | 8/7 | • | ||||
| 63 | 3/5 | 2/3 | * | 10 | 8/7 | • | ||||
| 75 | 6/10 | 2/3 | * | 10 | 8/7 | • | ||||
| 90 | 6/10 | 2/3 | * | 10 | 8/7 | • | ||||
| 100 | 6/10 | 2/3 | * | 10 | 8/7 | • | ||||
| 125 | 6/10 | 2/3 | * | 10 | 8/7 | • | ||||
| 150 | 6/10/12,5 | 2/3 | * | 12 | 10/9 | • | ||||
| 175 | 6/10/12,5 | 2/3 | * | 12 | 10/9 | • | ||||
| 200 | 6/10/12,5 | 2/3 | * | 12 | 10/9 | • | ||||
* A "*"-gal jelölt részek egyedi igények alapján, előzetes egyeztetés során kerülnek meghatározásra.
Szabványos rétegvastagságok (X): 2mm / 3mm.
12C9/20° alak-
Kúpos fazék alakú szuperabrazív korong
DxWxX/UxH

| Méretek | Kötés típusa | ||||||||||
| D | W | X | U | H | T1 | E | Bakelit | Kerámia | Fém | Hibrid | Galván |
| 50 | 3/5 | 1 | 2 | * | 8 | 5 | • | ||||
| 75 | 6/8/10 | 2 | 4 | * | 8 | 5 | • | ||||
| 100 | 6/10/15 | 2/3 | 4/5 | * | 9 | 6 | • | ||||
| 125 | 6/10/15 | 2/3 | 4/5 | * | 13 | 8 | • | ||||
| 150 | 8/10/15 | 2/3 | 4/5 | * | 15 | 9 | • | ||||
* A "*"-gal jelölt részek egyedi igények alapján, előzetes egyeztetés során kerülnek meghatározásra.
Szabványos szélességek (U): 2mm / 4mm / 5mm.
Szabványos rétegvastagságok (X): 1mm / 2mm / 3mm.
12C9/45° alak-
Kúpos fazék alakú szuperabrazív korong
DxWxX/UxH

| Méretek | Kötés típusa | ||||||||||
| D | W | X | U | H | T1 | E | Bakelit | Kerámia | Fém | Hibrid | Galván |
| 50 | 3/5 | 1 | 2 | * | 18 | 10 | • | ||||
| 75 | 6/8/10 | 2 | 4 | * | 22 | 10 | • | ||||
| 100 | 6/10/15 | 2/3 | 4/5 | * | 22 | 10 | • | ||||
| 125 | 6/10/15 | 2/3 | 4/5 | * | 22 | 10 | • | ||||
| 150 | 8/10/15 | 2/3 | 4/5 | * | 22 | 10 | • | ||||
* A "*"-gal jelölt részek egyedi igények alapján, előzetes egyeztetés során kerülnek meghatározásra.
Szabványos szélességek (U): 2mm / 4mm / 5mm.
Szabványos rétegvastagságok (X): 1mm / 2mm / 3mm.
12V2 alak-
Kúpos fazék alakú szuperabrazív korong
DxWxXxH

| Méretek | Kötés típusa | |||||||||
| D | W | X | H | T | E | Bakelit | Kerámia | Fém | Hibrid | Galván |
| 50 | 5/10 | 2/3 | * | 15 | 8 | • | ||||
| 75 | 6/10 | 2/3 | * | 20 | 10 | • | ||||
| 90 | 6/10 | 2/3/4 | * | 23 | 10 | • | ||||
| 100 | 6/10 | 2/3/4 | * | 23 | 10 | • | ||||
| 125 | 6/10/12,5 | 2/3/4 | * | 23 | 10 | • | ||||
| 150 | 6/10/12,5 | 2/3/4 | * | 23 | 10 | • | ||||
* A "*"-gal jelölt részek egyedi igények alapján, előzetes egyeztetés során kerülnek meghatározásra.
Szabványos rétegvastagságok (X): 2mm / 3mm / 4mm.
12V5/V° alak-
Kúpos fazék alakú szuperabrazív korong
DxWxXxH

| Méretek | Kötés típusa | ||||||||||
| D | W | X | H | T | E | V | Bakelit | Kerámia | Fém | Hibrid | Galván |
| 75 | 4/6 | 2/3 | * | 15 | 10 | 10/20 | • | ||||
| 100 | 6/10 | 2/3 | * | 18 | 10 | 10/20 | • | ||||
| 125 | 6/10 | 2/3 | * | 18 | 10 | 10/20 | • | ||||
| 150 | 6/10 | 2/3 | * | 20 | 12 | 10/20 | • | ||||
* A "*"-gal jelölt részek egyedi igények alapján, előzetes egyeztetés során kerülnek meghatározásra.
Szabványos rétegvastagságok (X): 2mm / 3mm.
12V9 alak-
Kúpos fazék alakú szuperabrazív korong
DxXxUxH

| Méretek | Kötés típusa | |||||||||
| D | X | U | H | T | E | Bakelit | Kerámia | Fém | Hibrid | Galván |
| 75 | 2/3 | 6/10 | * | 20 | 10 | • | • | |||
| 100 | 2/3 | 6/10 | * | 20 | 10 | • | • | |||
| 125 | 2/3 | 6/10 | * | 25 | 10 | • | • | |||
* A "*"-gal jelölt részek egyedi igények alapján, előzetes egyeztetés során kerülnek meghatározásra.
Szabványos szélességek (U): 6mm / 10mm.
Szabványos rétegvastagságok (X): 2mm / 3mm.
12V9/25° alak-
Kúpos fazék alakú szuperabrazív korong
DxXxUxH

| Méretek | Kötés típusa | |||||||||
| D | X | U | H | T | E | Bakelit | Kerámia | Fém | Hibrid | Galván |
| 100 | 3 | 2 | * | 12 | 10 | • | ||||
| 125 | 3 | 2 | * | 13 | 10 | • | ||||
| 150 | 3 | 3 | * | 16 | 10 | • | ||||
* A "*"-gal jelölt részek egyedi igények alapján, előzetes egyeztetés során kerülnek meghatározásra.
Szabványos szélességek (U): 2mm / 3mm.
Szabványos rétegvastagságok (X): 3mm.
15V9/Vz° alak-
Kúpos fazék alakú szuperabrazív korong
DxXxUxH

| Méretek | Kötés típusa | ||||||||||
| D | X | U | H | T1 | E | Vz° | Bakelit | Kerámia | Fém | Hibrid | Galván |
| 75 | 2/3 | 6 | * | 13 | 6 | 45 | • | ||||
| 85 | 2/3 | 6 | * | 15 | 8 | 45 | • | ||||
| 100 | 2/3 | 6 | * | 20 | 11 | 30/45 | • | ||||
| 125 | 2/3 | 6 | * | 20 | 11 | 30/45 | • | ||||
| 150 | 2/3 | 6 | * | 20 | 11 | 30/45 | • | ||||
| 175 | 2/3 | 8 | * | 25 | 11 | 45 | • | ||||
| 200 | 2/3 | 6 | * | 25 | 11 | 45 | • | ||||
* A "*"-gal jelölt részek egyedi igények alapján, előzetes egyeztetés során kerülnek meghatározásra.
Szabványos szélességek (U): 6mm / 8mm.
Szabványos rétegvastagságok (X): 2mm / 3mm.
A vágósebesség a szerszámok egyéb tulajdonságainak figyelembevételével 20m/s és 80m/s között lehetséges.
A fenti táblázatban szereplő értékek a gyártó partnereink ajánlott és jellemző méretei, egyedi igények esetén azoktól való eltérésre van lehetőség.
Az egyes anyagminőségek hatékony megmunkálásához kérje technológiai tanácsadóink vagy műszaki értékesítőink ajánlatát.
